目前国内的螺旋板式强油水冷却器在电炉变压器上应用较多,已取得了相当丰富的运行经验。浙江横山铁合金厂、青海西宁钢厂、浙
江开化硅铁厂、甘肃兰洲钢厂、太原钢铁公司、浙江淳安钢厂、甘肃刘家峡硅铁厂、江苏无锡第二钢铁厂、河南巩县钢厂、河南偃师电厂、戚墅堰铸钢车间、广西灵川冶炼厂、湖北鹤峰县新春工业硅厂、四川锦竹东方汽轮机铸造分厂、广西中山县金属硅厂、无锡胡埭钢厂、四川汶川县都江堰叁力铁合金厂、 四川内江变压器厂、云南砚山县阿舍宏光铁合金厂、浙江元立集团、湖北大冶市新冶特钢有限公司、云南文山麻栗坡大坪铁合金厂、 山东邹平华峰不锈钢有限公司、杭州萧山江盛铸锻有限公司、浙江元力集团河南鹤壁鑫熔铸业有限公司、广东五华联创变压器有限公司、吉林新冶设备有限公司、河南新密电力设备修造厂、 山东莱芜义和金属有限公司、浙江嵊州宝裕金属制品有限公司、浙江长城集团变压器厂、浙江中变变压器有限公司、贵州黔东南州广盛冶金有限公司、湖北黄石华源机械设备有限公司、江西新余华峰特钢、重庆鑫腾冶金炉料有限责任公司、重庆特钢厂等单位的电炉变压器都陆续采用了该产品——螺旋板式强油水冷却器。
螺旋板式强油水冷却器独特的设计制造吸收国内外同类产品的优点,技术先进,性能优良,质量可靠,是用于变压器强油水冷却器的首选产品,其各项技术指标均符合JB/T7633—94标准,其冷却器效率超达技术要求,冷却效果非常显著。
BLS0.6型变压器用螺旋板式强油水冷却器
螺旋板式的特点结构和工作原理
螺旋板式一种新型的应用相当广泛的热交换设备,它具有传热效高阻力损失小、操作稳定可靠、结构紧凑、价格便宜等一系列优点。我国60年代三期开始研究制造并制订了相应的技术标准,在制造和使用上已积累了不少经验,目前已广泛应用在石油化工制冷、有机化工食品、染料制碱制药、机械、冶金等工业部门, 用作变压器油冷却器是国内首创已有近20年历史,效果甚佳,螺旋板强油水冷却器是由两张厚度为2~3mm,卷板卷制成两个均匀方向上各道的螺旋体。在两通道内分别有一种载热体(油和水)呈全逆流状态进行热量交换。其冷却面积为两钢板的展开长乘以钢板宽之和。为了增强钢板的刚度、提高螺旋体的临界压力,在两张钢板的同一相面上焊接有一定密度的定距柱,这样亦可增加加流体的拢动性、增大雷诺数、提高传热效率。
由于螺旋通道曲率均匀通道中流体无大的换向, 因而阻力较小且无死角。为了提高换热效果通常流体在通道中流速转大,可防止通道污垢堵塞,且通道本身有自洁作用,另外两螺旋通道中还留有排气(液)孔便于操作又可取样化验之用。
一、BLS0.6型电炉变压器用螺旋板式强油水冷却器型号说明
二、特点:
1、传热效率高
总传热系数最高达到3300Kcal/m2.h℃,传热效果优于YF(风冷)冷却器和传统的列管换热器,是列管换热器的1~3倍,从而节约了能源,且有良好的经济性。
2、热损失少
本油冷却器结构紧凑,占地面积、外露表面均少。 若常温流体从外边缘通道流至油冷却器中心,则无需保温。
3、结构可靠
油、水两通道为整板卷制、焊接密封,保证了油水热交换时不会混合,从而使变压器能安全运行。
4、自清洗功能
本油冷却器可在确保通道压力降不大的情况下,适当增大液体流速, 可以提高传热效果。液体呈螺旋形流动,具有自动清洗功能,污垢不易沉积,从而减少了停车检修,节约了维修费用。
三、技术参数
1、公称压力规定为0.6MPa(注:指单通道承受的最大工作压力,本公司试验压力为设计压力的1.25倍)
2、允许的工作温度:碳钢冷却器允许温度范围为:-5℃~+200℃,不锈钢冷却器允许温度范围,是-10℃~十300℃。碳钢冷却器允许温度升温降压范围应按有关操作规定。
3、选用设备时,应通过适当的工艺计算,选定流体的合适工作状态,使油冷却器通道内的流体达到湍流状态(一般液体流速≥Im/sec、气体流速≥10m/SeC)。
4、用户可根据不同工况选用不同材质,本手册中,符号C表示Q235A材质,符合S表示不锈钢SUS304、oCrI8Ni9、1CrI8Ni9Ti、316L等材质,由用户在订货时选定。
5、单台冷却器使用时,一般使用双油泵,一台使用另一台备用,如单台设备不能满足使用要求时,可以采用多台联合使用,但组合必须符合下列规定:
①并联组合:只限于同一规格的油冷却器:
②串联组合:冷却器的板宽和通道间距都应相同;
③混合组合:一个通道并联,另一通道串联,只限于同一规格的冷却器。
6、安装形式: 卧式和立式。为使用停车后准物料彻底排干净,通常使用立式。
7、油冷却器接管方位以产品出厂图纸为准,按管公称直径按表一选取。如用户有特殊要求,可与本公司技术部协商,在用户选定规格后,可来函索取外型尺寸参考图。
四、BLS0.6型电炉变压器用螺旋板式强油水冷却器的选用和安装
①油冷却器的选用
目前,对电炉变压器选用的油冷却器,本公司已经有系列型号(见表一)。冷却介质为水, 冷却水的最高进口温度不能超过30℃,否则将影响冷却效果。冷却水的水质应达到下列指标: 浑浊度≤50mg/L、碳钢钙100—200mg/L、硫酸钙1500~2000mg/L、铁0.1mg/L、锰0.1 mg/L、硫化氢0.5 mg/L、pH值=7、冷却水保和指标1>0(如果1<0会对不锈钢有腐蚀倾向)。敬请用户注意: 如因为水质超标而引起的后果,用户自负。
对通常的3000~12500KVA电炉变压器,可按表二选配油冷却器,其实际流量可根据变压器的使用温度高低用控制阀门加以调节。为避免渗漏最好选用质量好的阀门连接管路。
②油冷却器的安装
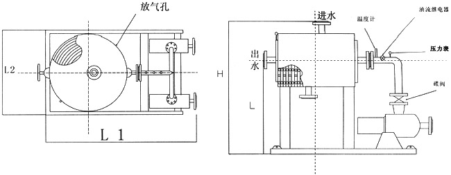
在出厂前,虽然变压器油冷却器都按企业专业标准进行严格的检验,在清理两螺旋通道后,再进行气压试验。但在现场安装试车前,仍应注意对两螺旋通道的清洗, 尤其是变压器油通道内不能有杂质和水分。然后,用变压器油对油通道进行压力试验,并检查油样的电气强度,全部指标合格后才将油冷却器与变压器本体管路联接起来。油冷却器与变压器的连接同列管式换热器类似:热油从变压器上部用油泵抽出,进入油冷却器, 然后经油箱下部流回变压器,为监控变压器油的安全循环流动,油通道进接管处安装了温度计,油进口处安装压力表和油流继电器。可根据用户要求,使温度计和压力表做到现场和控制室同步监控,用户在订货时根据需要向制造厂提出。
表一BLS0.6型电炉变压器用螺旋板式强油水冷却器的选型参考表
| 变压器容量 | 选用有冷却器型号(供参考) | 油冷却器参数 | |
| 热换面积m2 | 流量m3/h | ||
| 3000 | BLS0.6-15 | 15 | 39 |
| 4000 | BLS0.6-20 | 20 | 39 |
| 600 | BLS0.6-30 | 30 | 39 |
| 800 | BLS0.6-40 | 40 | 39 |
| 12500 | BLS0.6-60 | 60 | 39 |
| 1500 | BLS0.6-70 | 70 | 39 |
| BLS0.6 | 换热面积m2 | 额定冷却功率KW | 接管法兰HG5010-50(平面) | H | L | L1 | L2 | ||
| 高 | B1b2 | Cd | |||||||
| BLS0.6-10 | 10 | 100 | 80 | 80 | 1200 | 750 | 1200 | 900 | |
| BLS0.6-14.5 | 14.5 | 145 | 80 | 80 | 1400 | 800 | 1200 | 1000 | |
| BLS0.6-16 | 16 | 160 | 80 | 80 | 1400 | 800 | 1300 | 1000 | |
| BLS0.6-20 | 20 | 200 | 80 | 80 | 1400 | 800 | 1300 | 1000 | |
| BLS0.6-25 | 25 | 250 | 80 | 80 | 1480 | 800 | 1400 | 1100 | |
| BLS0.6-31.5 | 31.5 | 315 | 80 | 80 | 1600 | 950 | 1500 | 1100 | |
| BLS0.6-40 | 40 | 400 | 80 | 80 | 1600 | 950 | 1600 | 1200 | |
| BLS0.6-50 | 50 | 500 | 80 | 80 | 1600 | 950 | 1700 | 1250 | |
| BLS0.6-63 | 63 | 630 | 80 | 80 | 1800 | 1100 | 1750 | 1250 | |
| BLS0.6-80 | 80 | 800 | 80 | 80 | 1800 | 1100 | 1750 | 1300 | |
| BLS0.6-100 | |||||||||
| BLS0.6-125 | |||||||||
单台立式外型图
BLS0.6型电炉变压器用螺旋板式强油水冷却器外型图(立式安装)
二台一组立式
1.螺旋板式强油水冷却器独特的设计、制造,吸收国内外同类产品的优点,技术先进、性能优良、质量可靠,是用于变压器强油水冷却器的首选产品,其各项技术指标均符合JB/T7633—94标准,其冷却器效率超达技术要求,冷却效果非常显著。
2.为保证变压器的安全,使用中油压必须高于水压0.05~0.1MPa,开机先开油钮,关机先关水通钮。
3.冬天如不使用,打开放气水阀把水排尽,避免冻坏设备。
表三
| 冷却功率(KW)材质304 | 重量(KG) | 油存量(KG)≈ |
| 100 | 650 | 30 |
| 120 | 700 | 35 |
| 160 | 800 | 40 |
| 200 | 900 | 45 |
| 250 | 1000 | 55 |
| 315 | 1150 | 70 |
| 400 | 1250 | 80 |
| 450 | 1350 | 90 |
| 500 | 1500 | 100 |
| 630 | 1800 | 130 |
| 800 | 2200 | 160 |

